에스컬레이터의 경사도, 속도 및 스텝 크기의 기준은 [별표 24] 에스컬레이터 안전기준(주1 참조)에 상세히 규정되어 있다. [별표 24]는 유럽기준인 EN115와 거의 동일하여 이 기준은 전세계적으로 공통적이라고 할 수 있다. 일반 계단에 대한 건축법상의 기준은 "건축물의 피난,방화구조 등의 기준에 관한 규칙(주3 참조)"에서 규정되어 있다.
1. 경사도와 속도
1) 에스컬레이터
| 구분 | 경사도 | 공칭 속도(주5 참조) | 비고 |
| 공통 | 30 ° 이하 | 0.75 m/s 이하 | |
| 만약, 층고 6m이하 & 속도 0.5m/s이하 | 35 ° 이하 | 0.5 m/s 이하 | 경사도가 높으면 자재와 건축비 절감효과가 있으나 승객이 위험성을 더 느껴 층고와 속도를 제한한 것이다. |
![]() |
|||
주) 무부하 에스컬레이터 또는 무빙워크의 속도는 공칭주파수 및 공칭전압에서 공칭속도로부터 ±5%를 초과하지 않아야 한다.
2) 무빙 워크
| 구분 | 경사도 | 공칭 속도 | 비고 |
| 공통 | 12 ° 이하 | 0.75 m/s 이하 | |
| 만약, 팔레트 또는 벨트의 폭이 1.1m 이하이고, 승강장에서 팔레트 또는 벨트가 콤에 들어가기 전 1.6m 이상의 수평주행구간이 있는 경우 | 12 ° 이하 | 0.9 m/s 이하 | 진입구간이 긴 경우 속도를 높여도 안전하다. |
![]() |
|||
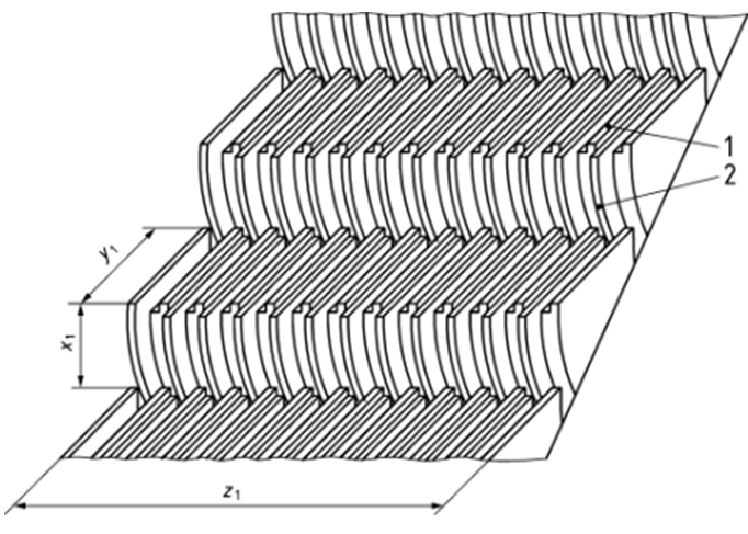
2. 에스컬레이터의 스텝(주4 참조) 크기
에스컬레이터 스텝의 높이(단높이, step height)는 0.24 m 이하이고 깊이(단너비, step depth)는 0.38m 이상이어야 한다. 스텝의 폭은 0.58m이상 1.1m이하이어야 한다.

비고 이 그림은 일정한 비율로 그려져 있지 않고, 단지 기준을 설명한다.
기호설명
1 스텝 트레드 표면
2 스텝 라이저 표면
| 주요 치수 | 항목 (주3 참조) |
| 스텝 높이: x1 ≤ 0.24m | 5.3.2.2.1 |
| 스텝 깊이: y1 ≥ 0.38m | 5.3.2.2.2 |
| 스텝 폭: z1 0.58m에서 1.1m (경사도가 6° 이하인 무빙워크의 폭은 1.65m까지 허용) |
5.3.2.1 |
주1)
[별표 24] 에스컬레이터 안전기준
5.2.2 경사도
5.2.2.1 에스컬레이터의 경사도 α는 30°를 초과하지 않아야 한다. 다만, 층고(h13)가 6 m 이하이고, 공칭속도가 0.5㎧ 이하인 경우에는 경사도를 35°까지 증가시킬 수 있다.(그림 5의 α 참조)
비고 경사도 α는 현장 설치여건 등을 감안하여 최대 1°까지 초과될 수 있다.
5.2.2.2 무빙워크의 경사도는 12°이하이어야 한다.

5.4.1.2 속도
5.4.1.2.1 무부하 에스컬레이터 또는 무빙워크의 속도는 공칭주파수 및 공칭전압에서 공칭속도로부터 ±5%를 초과하지 않아야 한다.
5.4.1.2.2 에스컬레이터의 공칭속도는 다음과 같아야 한다.
가) 경사도 α가 30°이하인 에스컬레이터는 0.75㎧ 이하이어야 한다.
나) 경사도 α가 30°를 초과하고 35°이하인 에스컬레이터는 0.5㎧ 이하이어야 한다.
5.4.1.2.3 무빙워크의 공칭속도는 0.75㎧ 이하이어야 한다. 팔레트 또는 벨트의 폭이 1.1m 이하이고, 승강장에서 팔레트 또는 벨트가 콤에 들어가기 전 1.6m 이상의 수평주행구간이 있는 경우 공칭속도는 0.9㎧까지 허용된다.
다만, 가속구간이 있거나 무빙워크를 다른 속도로 직접 전환시키는 시스템이 있는 무빙워크에는 적용되지 않는다.
주2) 디딤판 규격
[별표 24] 에스컬레이터 안전기준
5.3.2 디딤판 규격
5.3.2.1 일반사항
에스컬레이터 및 무빙워크의 공칭 폭 z1은 0.58m 이상 1.1m 이하이어야 한다.
경사도가 6°이하인 무빙워크의 폭은 1.65m까지 허용된다.
5.3.2.2 스텝 트레드 및 팔레트(그림 5, 상세도 X 및 그림 8 참조)
5.3.2.2.1 스텝 높이 x1은 0.24m 이하이어야 한다.
5.3.2.2.2 스텝 깊이 y1은 은 0.38m 이상이어야 한다.
5.3.2.2.3 스텝 트레드 및 팔레트의 표면은 진행방향으로 콤의 빗살과 맞물리는 홈이 있어야 한다.
5.3.2.2.4 스텝 라이저는 클리트 되어야 하고, 클리트 표면은 매끄러워야 한다.
스텝 트레드의 끝부분은 연속되는 다음 스텝 라이저의 클리트와 맞물려야 한다.
5.3.2.2.5 홈의 폭 b7은 5㎜ 이상, 7㎜ 이하이어야 한다.
5.3.2.2.6 홈의 깊이 h7은 10㎜ 이상이어야 한다.
5.3.2.2.7 웹의 폭 bs은 2.5㎜ 이상, 5㎜ 이하이어야 한다.
5.3.2.2.8 스텝 트레드와 스텝 라이저 또는 팔레트의 측면 모서리 부분은 홈으로 마감되지 않아야 한다.
5.3.2.2.9 스텝 트레드 표면과 스텝 라이저 사이의 모서리는 날카로운 부분이 없어야 한다.
5.3.2.3 벨트(그림 5, 상세도 X 참조)
5.3.2.3.1 벨트는 진행방향으로 콤의 빗살과 맞물리는 홈이 있어야 한다.
5.3.2.3.2 홈의 폭 b7은 벨트의 트레드 표면에서 측정되어 4.5㎜ 이상, 7㎜ 이하이어야 한다.
5.3.2.3.3 홈의 깊이 h7는 5㎜ 이상이어야 한다.
5.3.2.3.4 웹의 폭 bs은 벨트의 트레드 표면에서 측정되어 4.5㎜ 이상, 8㎜ 이하이어야 한다.
5.3.2.3.5 벨트의 측면 모서리 부분은 홈으로 마감되지 않아야 한다. 트레드웨이(treadway) 벨트의 접합부는 파손되지 않은 연속적인 트레드웨이 표면과 같아야 한다.
주3) 계단의 설치기준 (건축물의 피난, 방화구조 등의 기준에 관한 규칙)
제15조(계단의 설치기준) ①영 제48조의 규정에 의하여 건축물에 설치하는 계단은 다음 각호의 기준에 적합하여야 한다. <개정 2010. 4. 7., 2015. 4. 6.>
1. 높이가 3미터를 넘는 계단에는 높이 3미터이내마다 유효너비 120센티미터 이상의 계단참을 설치할 것
2. 높이가 1미터를 넘는 계단 및 계단참의 양옆에는 난간(벽 또는 이에 대치되는 것을 포함한다)을 설치할 것
3. 너비가 3미터를 넘는 계단에는 계단의 중간에 너비 3미터 이내마다 난간을 설치할 것. 다만, 계단의 단높이가 15센티미터 이하이고, 계단의 단너비가 30센티미터 이상인 경우에는 그러하지 아니하다.
4. 계단의 유효 높이(계단의 바닥 마감면부터 상부 구조체의 하부 마감면까지의 연직방향의 높이를 말한다)는 2.1미터 이상으로 할 것
②제1항에 따라 계단을 설치하는 경우 계단 및 계단참의 너비(옥내계단에 한정한다), 계단의 단높이 및 단너비의 칫수는 다음 각 호의 기준에 적합해야 한다. 이 경우 돌음계단의 단너비는 그 좁은 너비의 끝부분으로부터 30센티미터의 위치에서 측정한다. <개정 2003. 1. 6., 2005. 7. 22., 2010. 4. 7., 2015. 4. 6., 2019. 8. 6.>
1. 초등학교의 계단인 경우에는 계단 및 계단참의 유효너비는 150센티미터 이상, 단높이는 16센티미터 이하, 단너비는 26센티미터 이상으로 할 것
2. 중ㆍ고등학교의 계단인 경우에는 계단 및 계단참의 유효너비는 150센티미터 이상, 단높이는 18센티미터 이하, 단너비는 26센티미터 이상으로 할 것
3. 문화 및 집회시설(공연장ㆍ집회장 및 관람장에 한한다)ㆍ판매시설 기타 이와 유사한 용도에 쓰이는 건축물의 계단인 경우에는 계단 및 계단참의 유효너비를 120센티미터 이상으로 할 것
4. 제1호부터 제3호까지의 건축물 외의 건축물의 계단으로서 다음 각 목의 어느 하나에 해당하는 층의 계단인 경우에는 계단 및 계단참은 유효너비를 120센티미터 이상으로 할 것
가. 계단을 설치하려는 층이 지상층인 경우: 해당 층의 바로 위층부터 최상층(상부층 중 피난층이 있는 경우에는 그 아래층을 말한다)까지의 거실 바닥면적의 합계가 200제곱미터 이상인 경우
나. 계단을 설치하려는 층이 지하층인 경우: 지하층 거실 바닥면적의 합계가 100제곱미터 이상인 경우
5. 기타의 계단인 경우에는 계단 및 계단참의 유효너비를 60센티미터 이상으로 할 것
6. 「산업안전보건법」에 의한 작업장에 설치하는 계단인 경우에는 「산업안전 기준에 관한 규칙」에서 정한 구조로 할 것
③공동주택(기숙사를 제외한다)ㆍ제1종 근린생활시설ㆍ제2종 근린생활시설ㆍ문화 및 집회시설ㆍ종교시설ㆍ판매시설ㆍ운수시설ㆍ의료시설ㆍ노유자시설ㆍ업무시설ㆍ숙박시설ㆍ위락시설 또는 관광휴게시설의 용도에 쓰이는 건축물의 주계단ㆍ피난계단 또는 특별피난계단에 설치하는 난간 및 바닥은 아동의 이용에 안전하고 노약자 및 신체장애인의 이용에 편리한 구조로 하여야 하며, 양쪽에 벽등이 있어 난간이 없는 경우에는 손잡이를 설치하여야 한다. <개정 2010. 4. 7.>
④제3항의 규정에 의한 난간ㆍ벽 등의 손잡이와 바닥마감은 다음 각호의 기준에 적합하게 설치하여야 한다.
1. 손잡이는 최대지름이 3.2센티미터 이상 3.8센티미터 이하인 원형 또는 타원형의 단면으로 할 것
2. 손잡이는 벽등으로부터 5센티미터 이상 떨어지도록 하고, 계단으로부터의 높이는 85센티미터가 되도록 할 것
3. 계단이 끝나는 수평부분에서의 손잡이는 바깥쪽으로 30센티미터 이상 나오도록 설치할 것
⑤계단을 대체하여 설치하는 경사로는 다음 각호의 기준에 적합하게 설치하여야 한다. <개정 2010. 4. 7.>
1. 경사도는 1 : 8을 넘지 아니할 것
2. 표면을 거친 면으로 하거나 미끄러지지 아니하는 재료로 마감할 것
3. 경사로의 직선 및 굴절부분의 유효너비는 「장애인ㆍ노인ㆍ임산부등의 편의증진보장에 관한 법률」이 정하는 기준에 적합할 것
⑥제1항 각호의 규정은 제5항의 규정에 의한 경사로의 설치기준에 관하여 이를 준용한다.
⑦ 제1항 및 제2항에도 불구하고 영 제34조제4항 단서에 따라 피난층 또는 지상으로 통하는 직통계단을 설치하는 경우 계단 및 계단참의 유효너비는 다음 각 호의 구분에 따른 기준에 적합하여야 한다. <신설 2012. 1. 6., 2015. 4. 6.>
1. 공동주택: 120센티미터 이상
2. 공동주택이 아닌 건축물: 150센티미터 이상
⑧ 승강기기계실용 계단, 망루용 계단 등 특수한 용도에만 쓰이는 계단에 대해서는 제1항부터 제7항까지의 규정을 적용하지 아니한다. <개정 2012. 1. 6.>
※ 건축물 용도별 계단의 높이 x 너비 기준 (요약)
| 용도 | 단높이 | 단너비 |
| 초등학교 | 16cm 이하 | 26cm 이상 |
| 중·고등학교 | 18cm 이하 | 26cm 이상 |
| 기타 공공시설 | 15cm 이하 | 30cm 이상 |
※ 일반 계단의 경사도와 크기 기준
| 구분 | 크기 | 설명 |
| 단높이(Riser) | 15cm ~ 18cm | 한 계단의 수직 높이 |
| 단너비(Tread) | 25cm ~ 30cm | 발을 디디는 수평 너비 |
| 경사도 | 약 30도 ~ 35도 | 보행에 적절한 경사도 |
| 보행공식 | 2R + T = 60 ~ 65cm | 보행의 편안함을 위한 공식 |
주4) 디딤판과 스텝 의 용어 정의
디딤판은 스텝, 팔레트 및 벨트를 통칭하는 포괄적인 용어이다. EN115에서는 이러한 포괄적인 용어는 없고 스텝, 팔레트, 벨트 등으로 각각을 칭한다. 스텝은 에스컬레이터에서 사용하는 디딤판을 말하고 팔레트나 벨트는 무빙워크에서 사용하는 디딤판을 말한다. 즉, 통칭할때는 디딤판, 각각을 칭할때는 스텝, 팔레트, 벨트라 하여야 한다.
| 용어 | 정의 | 비고 |
| 디딤판 | 에스컬레이터 또는 무빙워크에서 사람이 발을 딛는 부분 전체를 포괄하는 일반 용어 | 상위 개념 |
| 스텝(step) | 에스컬레이터에서 사람이나 물건을 싣고 이동하는 구체적인 구성품. 스텝 트레드, 스텝 라이저, 스텝 롤러 등으로 구성됨 | 디딤판의 한 종류 |
주5) 공칭속도 (nominal speed)란?
공칭속도란 기준 조건에서 설정된 설계 또는 명목상의 속도를 의미한다. 이에 대비되어 사용되는 속도(speed)는 실제로 측정된 이동 속도를 의미하기도 하지만 뚜렷이 구분하여 쓰지 않을 때도 많다.
2025.9.15.
(c) 칠보 (chillbo)
'승강기 원리 이해' 카테고리의 다른 글
| 우주 엘리베이터 (1) | 2025.10.13 |
|---|---|
| 에스컬레이터 - 브레이크의 제동부하 및 정지거리 (0) | 2025.09.23 |
| 엘리베이터 - 추락방지안전장치 (0) | 2025.09.09 |
| 엘리베이터 - 피난공간 (0) | 2025.09.08 |
| 엘리베이터 - 방화문(방화도어) (14) | 2025.08.12 |


댓글